Brukes til matlaging et utvalg av bakervarer: rundstykker, brød, paier, søt mat og til og med pizza.
Ovner er ideelle for å optimalisere arbeidet storskala produksjon og for hjemmebruk.
Odnoklassniki
Krav til ovner for brødbaking

Grunnleggende krav til innretninger beregnet på baking:
- brannmotstand;
- tetthet;
- termisk isolasjon;
- mekanisk styrke;
- lønnsomhet;
- hygiene;
- kokehastighet Produkter;
- ergonomi;
- estetikk.
Konstruksjoner og design av elektriske ovner
| 2.1 Strømforsyningskrets for elektrisk lysbueovn | 
Store lysbueovner er en kraftig forbruker av elektrisitet, derfor er elektriske lysbueovner inkludert i kraftsystemer som forener flere kraftverk.
For å redusere tap i kraftledninger tilføres høyspenningsenergi (35-110 kV) til verkstedets nedstigningsstasjoner. Denne spenningen fra høyspenningsbryteren mates gjennom en ledningsindivid for hver ovn til ovnstasjonen, som huser ovnens nedtrappingstransformator og tilleggsutstyr. Etter å ha senket spenningen til 110-600 V tilføres strømmen direkte til den elektriske ovnen. Strømstyrken i denne delen av den elektriske kretsen når titusenvis av ampere, som et resultat av at betydelige strømtap finner sted i seksjonen fra ovntransformatoren til elektrodene. For å redusere disse tapene bringes ovnstasjonen så nær som mulig til ovnen, og seksjon av kretsen fra transformatoren til elektrodene blir gjort så kort som mulig, derfor kalles denne seksjonen det korte nettverket til ovnen. Dermed inkluderer det elektriske diagrammet for elektriske lysbueovner følgende utstyr:
- en ovn med elektroder, aktuatorer til ovnens kraftregulatorer og et bad med smeltet metall;
- nedtrappende transformatorer, sammen med hvilke chokes blir plassert;
- et kort nettverk som forbinder sekundærviklingen av transformatoren med ovnelektrodene;
- bytte-, måle- og verneutstyr.
Fig 2.1.
Elektrisk utstyrsdiagram for ovnen [3]
Forklaring: 1 - luftfrakobling, 2 - hovedbryter, 3 - choke, 4 - switch, shunt choke, 5 - ovnstransformator, 6 - transformatoroljetank; 7 - koblingsskinner med lav spenning, 8 - fleksible kabler, 9 - vannkjølt rørstrøm fører til elektrodeholdere, 10 - lysbueovn
Fig 2.2
Enkelt-linjers blokkdiagram over lysbueovnens strømforsyning;
Tegnforklaring: KV - kabelforskruing, VV - luftinntak, R - høyspenningsfrakobling, VT - spenningstransformator, VM - strømbryter, TT - strømtransformator, Dr - choke, ШВ - shuntbryter, PT - ovnstransformator, PSN - spenning trinnbryter, - stjerne-delta bryter, EP - elektrisk ovn, 3 - jord
I denne ordningen tilføres strømmen fra høyspentledningen gjennom kabelen eller luftinngangen. Kabelforskruing (KB) brukes til spenninger opptil 35 kV. Ved høyere spenninger brukes et luftinntak (BB).
Frakobling P høyspenning kan bare fungere etter at ovnstransformatoren PT er frakoblet av strømbryteren VM.
Målingstransformatorer for spenning VT og strøm CT brukes til å senke spenningen og strømmen til verdiene som måleinstrumentene og annet utstyr er designet for (vanligvis opptil 100 V og opptil 5 A).
VM-strømbryteren er en av de mest kritiske enhetene i den elektriske delen av ovnen. Arbeider automatisk, må den øyeblikkelig (0.1-0.15 s) slå av installasjonen i tilfelle en nødkortslutning på høyspenningssiden eller etter en angitt forsinkelse (3-5 s) slå av installasjonen i tilfelle en operasjon kortslutning av elektroder med metall i ovnen. I tillegg, med sin hjelp, utføres all operativ inn- og utkobling av installasjonen under driften.
Choke Др er designet for å begrense kortslutningsstrømmer og for å sikre kontinuerlig forbrenning av buer. Etter avslutning av store innstrømningsstrømmer under smelting av ladningen shuntes chokeren av bryteren ШВ. I store ovner med betydelig induktiv motstand brukes ikke choke.
Ovnstransformatoren PT senker høyspenningen til verdiene som kreves under smelteprosessen. All bytte av transformatorviklingene utføres fra høyspenningssiden, siden strømmen i dette tilfellet er mindre, og følgelig er kontaktelementens dimensjoner mindre. Bryteren bytter trefasede høyspenningsviklinger fra "delta" -forbindelsen til "stjerne" -kretsen, mens spenningen på sekundærviklingene til transformatoren avtar flere ganger. Bytte av sekundærspenningstrinnene oppnås ved å redusere antall svingninger på høyspenningsviklinger ved hjelp av PSN-bryteren. I store ovner utføres all transformatorbytte under belastning.
| 2.1 Strømforsyningskrets for elektrisk lysbueovn | 
Typer ovner til baking. Hvorfor foretrekkes vedfyring?
Utvalget av enheter er ganske bredt:
- Dekk bakeri. Den brukes til å lage vanlig brød og andre bakverk, oftest av rug og hvetemel. Dens struktur består av flere nivåer som tilføres varme.
- Ildsted. Den brukes til fremstilling av bakverk og gjærdeigprodukter. Det finnes ofte i restauranter eller i produksjon. Designfunksjonen er tilstedeværelsen av ildsteder som arbeidsemnene beveger seg på, noe som sikrer jevn baking.


Foto 1. Hjerte modulær brødovn fra E-serien fra produsenten Salva. Utstyrt med tre kameraer.
- Konveksjon. Den lager ikke bare tradisjonelle brødprodukter, men også fisk og kjøtt. Enheten fungerer på prinsippet om konveksjon. Den brukes til både industrielle og husholdningsformål. Ganske enkel å betjene.
- Tunnel. De er mye brukt i stor kontinuerlig produksjon. Kaker, boller, brød. Utstyrt med selvrensende og oljeforsyningssystemer.
- Elektrisk bakerovn. Det er den mest kostnadseffektive og økonomiske. Designet for å bake et stort utvalg av produkter og tilberede fisk og kjøttretter. Opprettholder automatisk den optimale steketemperaturen.
- Rotary. Designet eksklusivt for konfekt. De viktigste typer deig for slike konstruksjoner er gjær, frossen og smør. Operasjonsprinsippet er basert på roterende sirkulasjon av varm luft.


Foto 2. Prosessen med å laste et parti brød i en stor rotasjonsovn fra produsenten ENKOMAK.
- Vedfyring. Produkter i den er impregnert med aromaen av ved, noe som øker kostnadene for ferdige produkter. Den mest økonomiske, tåler de høyeste temperaturene. Det regnes som miljøvennlig. Den går på tre og har mange fordeler.
fordeler vedfyrte ovner:
- gir naturlig aroma røyk til det ferdige produktet;
- bevaring av ytelse i felten i fravær av strøm;
- energisk konkurranseevne.
Hjemme brukes ofte vanlige elektriske apparater eller vedfyring.


Foto 3.En vedfyrt ovn for å bake brød kan installeres i hagen, den er mer mobil enn en elektrisk.
Funksjoner av den elektriske kretsen til motstandsovnen
Med tanke på de elektriske kretsene til motstandsovner, kan utstyr av to typer skilles ut. Hovedforskjellen er måten å påvirke de bearbeidede prøvene på:
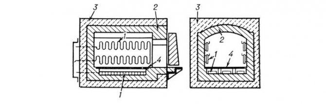
1. Indirekte oppvarming... Enhetene er egnet for smelting av metaller og andre ting. Strukturen består av:
- Oppvarmingsdeler (nr. 1).
- Fôr (nr. 2).
- Varmeisolerende lag (nr. 3).
- Varmebestandig ildsted (nr. 4).
Indirekte oppvarmet motstandsovnsdesign


2. Direkte oppvarming... Elektrisitet konverteres til varme direkte i det oppvarmede produktet. Dette lar deg nå ønsket temperatur på kort tid. Du kan se utformingen av slikt utstyr nedenfor, der:
- Prøve som skal behandles (nr. 1).
- Trappetransformator (nr. 2).
- Kontakter (nr. 3 og nr. 4).
Ovndesign med direkte oppvarming


Muffelovner for keramikkfyring, smykker, mini og andre modeller med muffel brukes til:
- Omsmelting av verdifulle metaller.
- Aldringsflater.
- Avfyring av glass og keramikk.
- Tørkematerialer med høy varmeledningsevne.
Vedovn
Vedovnen må ha skorstein, som vil sikre fjerning av gasser. Henne makt avhenger av størrelse og strømforbruk. Brannen påvirker belegget på selve enheten, som gir varme til maten.
Viktig! Praktisk ikke bare for å lage bakevarer, men også for oppvarming lokaler.
Hovedelementene til enheten:
- et varmeelement;
- vindu;
- belte eller transportør for produkter;
- damp luftfukter;
- skorstein.
Brensel
Hovedsakelig trepresset paller, drivstoff briketter eller torv... Fordelen med ved er langvarig bevaring av varme, langvarig støtte av forbrenningsprosessen og miljøvennlighet.
Generelle bygningsregler
Prosessen med å bygge en ovn for å lage brød er ikke spesielt vanskelig, men samtidig utføres alle trinn i rekkefølge. I den innledende konstruksjonsfasen er det viktig for den fremtidige eieren av ovnen å skissere de overordnede dimensjonene til bygningen, ovnsdøren, og også å bestemme brødkammeret med volum og kapasitet. Det andre viktige trinnet er å bygge en ordreordning. Avhengig av hvordan murverket skal legges, vil ovnens utseende og ytelse avhenge. Bestillingen er detaljert i diagrammene, som ikke er vanskelige å finne, og enda mer å forstå strukturen til arbeidet i henhold til tegningene.
En viktig del i konstruksjonen av en ovn er beregningen av forbruket av materialene som brukes.
Grunnleggende anbefalinger for valg


Når du velger en vedovn, må du forstå formål med utnyttelseog apparat: industrielt eller hjemme.
Velg en slankere og mer kompakt versjon hvis du lager mat for familien... Det er lite sannsynlig at du trenger mengden produkter som for eksempel en tunnelovn produserer.
Følg med på kjøkken... Noen enheter tar mye plass på grunn av størrelsen og muligheten for å koble en skorstein.
Avhengig av ovnstype, kan den tilberede ikke bare brød, pizza, paier og bakverk, men også første, andre kurs, fisk eller kjøtt.
Typer mursteinovner
Elektriske enheter
Brødovner er konvensjonelt delt inn i flere varianter, avhengig av struktur og tilleggsegenskaper. Det antas at denne typen konstruksjon er den mest kostnadseffektive og praktiske å bruke. Det er praktisk å bruke elektriske ovner hjemme, og tilberedningsprosessen tar ikke mye tid, driftsprinsippet er det samme som for en multikoker. Det er nødvendig å velge ønsket program og helle ingrediensene i bollen, etter en viss periode, ta opp det ferdige produktet.
Vedfyring
Denne typen er spesielt relevant for områder der det er problemer med tilførsel av elektrisitet og all matlaging og oppvarming skjer på grunn av strukturer som fyres når ved leveres. Den vedfyrte bakerovnen har følgende positive poeng:
- gir en unik smak og aroma av nybakt surdeigsbrød;
- evnen til å bake boller og brød i store satser;
- andre retter tilberedes også i brødovner;
- dimensjonene til den vedfyrte strukturen er som regel ikke veldig store, så den kan bygges hvor som helst.
Murstein enheter


Det er et ideelt alternativ for landsteder og sommerhus. Mursteinovner lar deg bake forskjellige typer brød på bare en halv time. Etter å ha fullført bakeprosessen i en smeltet struktur i ytterligere 8 timer, kan du tilberede mange andre retter, som syltetøy, desserter osv.















